CA-DV8706SF-Q1
工程送样
汽车级H桥电机预驱动器
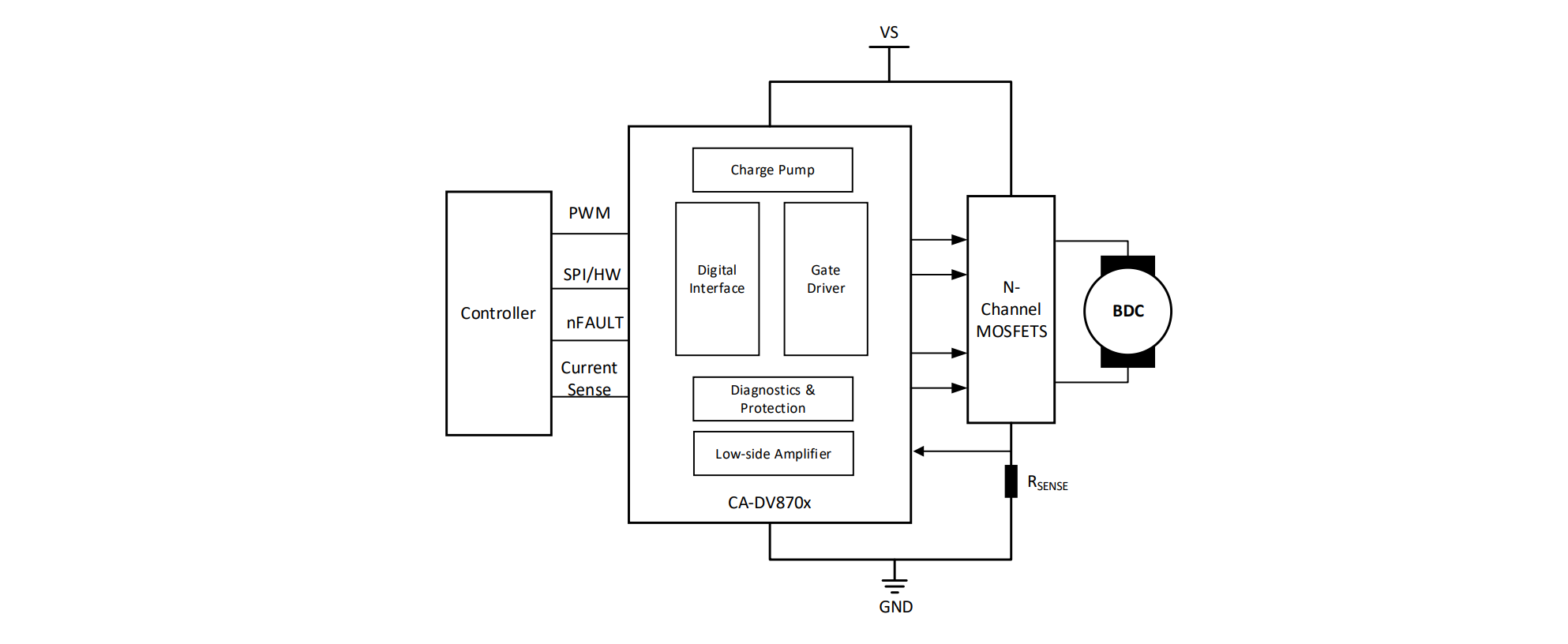
CA-DV8706xF-Q1 是一款高度集成式 H 桥栅极驱动器,能够驱动高侧和低侧 N 沟道功率 MOSFET。它可使用集成式倍增电荷泵(针对高侧)和线性稳压器(针对低侧)生成合适的栅极驱动电压。
该器件通过使用可调栅极驱动架构来降低系统成本并提高可靠性。栅极驱动器可优化死区时间以避免出现击穿问题,通过可调栅极驱动电流对电磁干扰 (EMI) 进行控制,而且可通过 VDS 和 VGS 监控器来防止漏源极和栅极短路问题。
宽共模电流分流放大器可用于高侧、低侧或负载侧配置,即使在循环期间也可持续测量电机电流。
CA-DV8706xF-Q1 提供了一系列保护功能,可确保系统稳定运行。此类功能包括适用于电源和电荷泵的欠压和过压监控、适用于外部 MOSFET 的 VDS 过流和 VGS栅极故障监控、离线开路负载和短路诊断,以及内部热警告和热关断保护功能。


-
特性
符合面向汽车应用的 AEC-Q100 标准
温度等级 1:–40°C 至 +125°C,TA
提供功能安全
有助于进行功能安全系统设计的文档
H 桥可调栅极驱动器
5V 至 37V(绝对最大值 40V)工作电压范围
倍增电荷泵可实现 100% PWM
半桥、 H 桥控制及螺线管控制模式可调栅极驱动架构
可调压摆率控制
0.5 mA 至 96 mA 峰值拉/灌电流输出
集成死区时间握手宽共模电流分流放大器
支持高侧、低侧或负载侧电流采样
可调增益设置(10、20、40、80 V/V)
集成反馈电阻
可调 PWM 消隐方案提供多个接口选项
SPI:详细配置和诊断
H/W:简化的控制和更少的 MCU 引脚展频时钟可降低 EMI
集成保护特性
专用驱动器禁用引脚 (DRVOFF)
电源和稳压器电压监控器
MOSFET VDS 过流监控器
MOSFET VGS 栅极故障监控器
用于反极性 MOSFET 的电荷泵
离线负载开路和短路诊断(SPI 配置)
器件热警告和热关断
故障条件中断引脚 (nFAULT) -
应用
-
汽车底盘驻车制动系统
-
电动天窗、车窗升降器和滑动门
-
电动座椅模块
-
电动后备箱和后备箱门
-
BDC 燃油泵、水泵、机油泵
-
挡风玻璃雨刮器
-
螺线管和继电器
-
-
器件信息
零件号 封装 封装尺寸(标称值) CA-DV8706xF-Q1 QFN32
5mm x 5 mm -
简化通道结构图
-
技术文档
文档名称
文件种类
更新日期
-
文件种类: 规格书
更新日期: 2025.04.30
-