CA-IF1145FDF-Q1

f_ico03.svg

工程送样

汽车级CAN收发器

CA-IF1145 为高速 CAN 收发器,产品符合 ISO 11898-2:2016 和 SAE J2284-1 到 SAE J2284-5 规定的高速 CAN(控制器局域网络)物理层标准,可支持 5Mbit/s 的CAN FD 通信。同时,产品具有低功耗的待机和休眠模式,通过选择性唤醒功能支持 ISO 11898-2:2016 中定义的 CAN 局部网络。CA-IF1145 支持同 3.3V 到 5V 的微控制器直接通信,SPI 接口用于收发器控制和读取状态信息。 

CA-IF1145 在待机/休眠模式下等待有效唤醒时能屏蔽掉CAN FD帧,可以同时支持CAN FD和标准CAN 2.0通信。当系统 ECU 休眠时,总线上其它节点需要收发 CAN FD报文,CA-IF1145 可以避免此时的 CAN FD 通讯导致本节 点被非预期唤醒。

该系列产品特性非常适用于高速 CAN 网络中直接连接到电池的节点,为了节省功耗,只在应用需要时才开始工作。

package-soic14-nf.png
  • 特性

    符合 ISO 11898-2:2016 和 SAE J2284-1 到 SAE J2284- 5标准

    支持 5Mbit/s 的 CAN FD 数据传输

    支持选择性唤醒 CAN 局域网络中的部分节点

    支持+/-42V 的总线短路保护,适用于 12V 电池供电系统

    具有自主的总线偏置

    VIO 输入可以直接兼容 3.3V 和 5V 微控制器

    高级 ECU 电源管理系统

    通过抑制输出(INH)管脚,将整个节点断电,实现节点低功耗
    待机和休眠模式下超低功耗,支持三种唤醒
    通过标准的 CAN 唤醒序列进行远程唤醒或者通过 ISO 11898-2:2016 定义的选择性唤醒帧进行唤醒
    选择性唤醒支持 50 kbit/s, 100 kbit/s, 125 kbit/s,250 kbit/s, 500 kbit/s 和 1 Mbit/s 速率
    通过 WAKE 管脚进行本地唤醒
    本地唤醒可以被关闭以降低功耗
    支持唤醒源识别

    保护和诊断特性

    16-,24-或 32-bit SPI 用于配置,控制和诊断
    驱动器显性超时保护及诊断
    过温报警和关断
    VCC, VIO, BAT 管脚欠压保护和恢复
    当电池掉电后,总线成高阻态
    冷启动诊断(通过 PO 和 NMS 位)
    供电管脚和 CAN 总线管脚可以承受 ISO 7637-3中定义的脉冲 1,2a,3a 和 3b
    先进的系统和收发器中断处理

    结温范围:-40°C 至 150°C

    符合面向汽车应用的 AEC-Q100 Grade 1 标准

    可提供 SOIC14 和 DFN14 封装

  • 应用

    • 车身电子模块

    • 车载娱乐系统

    • 动力系统

    • 智能辅助驾驶系统

    • 底盘系统

  • 器件信息

    零件号封装封装尺寸(标称值)
    CA-IF1145FNF-Q1

    SOIC14(NF)

    3.9mm x 8.65mm
    CA-IF1145FDF-Q1

    DFN14(DF)

    3.0mm x 4.5mm
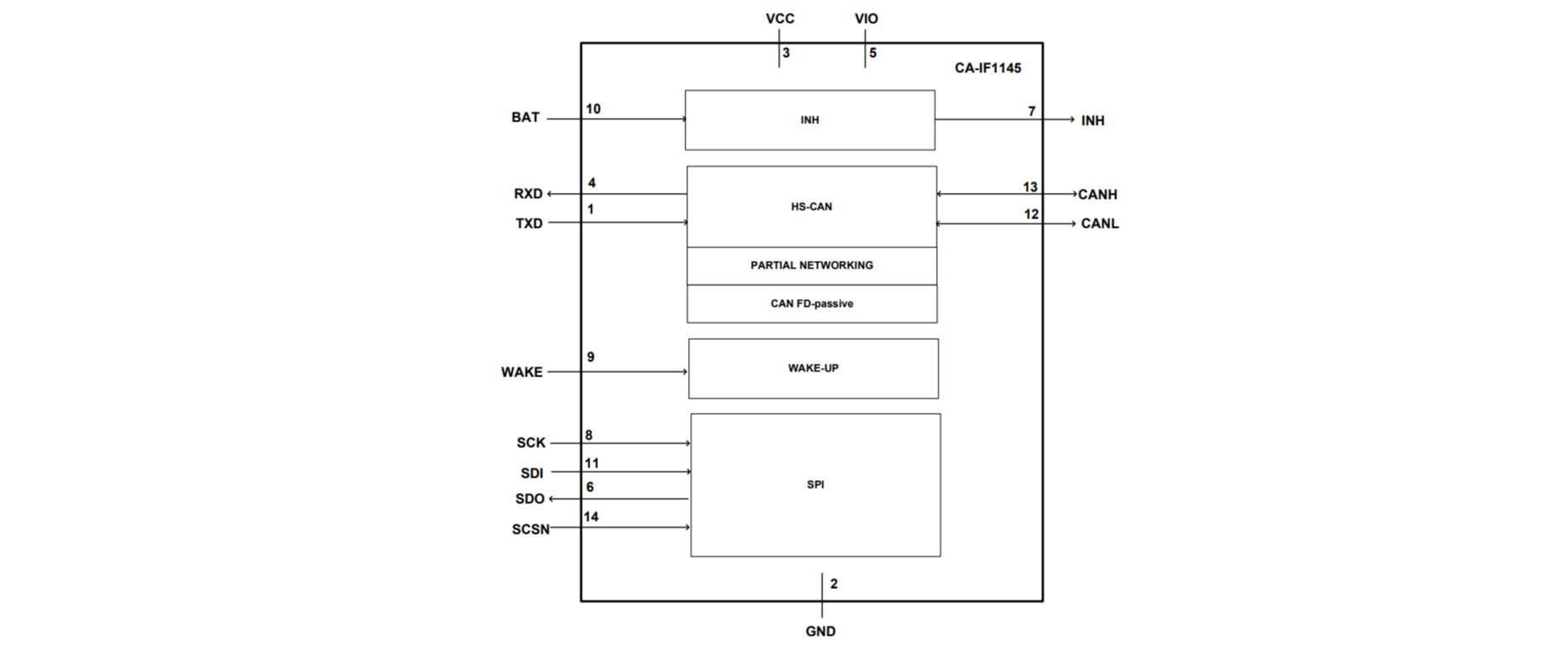
  • 简化通道结构图

    企业微信截图_17459841699628.png